- 真题试卷
- 模拟试卷
- 预测试卷
1.真空中的可见光与无线电波
正确答案
解析
可见光和无线电波都是电磁波,它们的波长与频率均不相等,则传播能量也不相等,
但它们在真空中传播的速度是一样的,都等于光速.
考查方向
解题思路
要解答本题需掌握电磁波的家族,它包括微波、中波、短波、红外线及各种可见光、紫外线,X射线与γ射线等,都属电磁波的范畴,它们的波长与频率均不同,但它们在真空中传播速度相同,从而即可求解.
易错点
主要考查学生对电磁波家族的理解和掌握,注意它们的波长长短与频率的高低关系.
知识点
2.在如图所示的逻辑电路中,当A端输入电信号“1”、B端输入电信号“0”时,在C和D端输出的电信号分别为
正确答案
解析
A是非门,当输入1是,输出为0,同时作为B或门的输入端,加上B输入为0,则或门两端都是0,因此D段输出为0,答案为A
考查方向
解题思路
考查常见的逻辑电路,解决本题的关键知道三种门电路的特点,以及能够运用到实际生活中去.
易错点
理解逻辑电路的逻辑关系
知识点
4.用一束紫外线照射某金属时不能产生光电效应,可能使该金属产生光电效应的措施是
正确答案
解析
用一束紫外线照射某金属时不能产生光电效应,知紫外线的频率小于金属的极限频率,要能发生光电效应,需改用频率更大的光照射(如X射线).能否发生光电效应与入射光的强度和照射时间无关.故A正确,B、C、D错误.
考查方向
解题思路
发生光电效应的条件是入射光的频率大于金属的极限频率.与入射光的强度与照射时间无关.
易错点
本题的关键知道光电效应的条件,知道能否发生光电效应与入射光的强度和照射时间无关.
知识点
5. 如图,水平地面上堆放着原木,关于原木P的支撑点M、N处受力方向所述正确的是
正确答案
解析
N处受到的支持力的方向与原木P垂直向上,不是竖直向上,A错;M处受到的支持力的方向与地面垂直向上,即竖直向上,故B正确;因原木P有沿原木向下的运动趋势,所以N处受到的摩擦力沿MN方向,故C错误.原木相对于地有向左运动的趋势,则在M处受到的摩擦力沿地面向右,故D错误;
考查方向
解题思路
支持力的方向是垂直于接触面指向被支持的问题,静摩擦力的方向是与相对运动趋势的方向相反
易错点
本题的关键要掌握支持力和静摩擦力方向的特点,并能正确分析实际问题
知识点
7.如图,天然放射性元素放出的射线通过电场后分成三束,则
正确答案
解析
A、①向右偏转,知①带负电,为β射线,实质是电子,电离作用不是最强,故A错误.
B、②不带电,为电磁波,穿透能力最强,故B错误.
C、根据电荷数守恒知,原子核放出一个①粒子后,电荷数多1,故C正确.
D、③向左偏,知③带正电,为α射线,原子核放出一个③粒子后,质子数比原来少2,质量数少4,则中子数少2,故D错误.
考查方向
解题思路
根据粒子的偏转方向,确定三种射线的种类,结合射线的性质分析判断.
易错点
本题的关键知道三种射线的电性,以及知道三种射线的特点,知道三种射线的穿透能力和电离能力强弱
知识点
8.如图,一根长直导线竖直放置,通以向上的电流。直导线与铜圆环紧贴但相互绝缘,且导线经过环心O。下述各过程中,铜环中有感应电流的是
正确答案
解析
、D直导线中通以恒定的电流时,产生稳恒的磁场,根据安培定则判断可知,MN两侧的磁场方向相反,由于左右对称,当环竖直向上、向下匀速运动或以直导线为轴转动,穿过铜环的磁通量始终为零,保持不变,所以没有感应电流产生.故A、D错误.
B、环绕环心O匀速转动,穿过铜环的磁通量始终为零,没有感应电流产生,故B错误;
C、环向左匀速运动,磁通量增加,有感应电流产生,故C正确.
考查方向
解题思路
根据产生感应电流的条件:穿过闭合电路的磁能量发生变化进行分析判断.
易错点
判断电路中能否产生感应电流,应把握两点:一是要有闭合回路;二是回路中的磁通量要发生变化.
知识点
10.二氧化锡传感器的电阻随着一氧化碳的浓度增大而减小,将其接入如图所示的电路中,可以测量汽车尾气一氧化碳的浓度是否超标。当一氧化碳浓度增大时,电压表V和电流表A示数的变化情况可能为
正确答案
解析
当一氧化碳浓度增大时,二氧化锡传感器的电阻减小,由闭合电路欧姆定律知,电路中电流变大,则A示数变大.
由欧姆定律知R的电压变大,则电压表V变大.故D正确.
考查方向
解题思路
根据一氧化碳浓度的变化分析二氧化锡传感器的电阻的变化,从而分析出电路中电流的变化,由欧姆定律分析V示数的变化.
易错点
明确二氧化锡传感器的电阻与一氧化碳浓度的关系是解题的关键,相当于电路的动态分析问题
知识点
3.关于核能,下述正确的是
正确答案
解析
A、核能是新能源,但不是再生能源,故A错误;
B、轻核的聚变也能产生核能,比如氢弹,故B错误;
C、它是原子核结构发生变化时,产生新核,出现质量亏损,从而放出的能量,故C正确;
D、轻核的聚变的反应速度无法控制,而重核裂变的反应速度可以控制,故D错误;
考查方向
解题思路
核能是新能源,但不是再生能源;
轻核的聚变也能产生核能;
重核裂变可以控制,而轻核的聚变不能控制.
易错点
考查新能源与再生能源的区别,理解重核裂变与轻核的聚变的不同,掌握质量亏损的含义.
知识点
9.一弹簧振子作简谐振动,某一时刻开始计时,经
正确答案
解析
某一时刻作计时起点(t=0),经0.75周期,振子具有负方向最大加速度,则位移为正方向最大,说明t=0时刻质点经过平衡位置向负方向运动,则C为其振动图象.
考查方向
解题思路
根据
易错点
在选择图象时,关键研究t=0时刻质点的位置和振动方向.
知识点
6. 关于星系,下述正确的是
正确答案
解析
A、星系是由宇宙中的恒星、气体和尘埃组成的系统,故A正确;银河系是一种漩涡星系,B错;银河系中恒星很多,故C错误;太阳处于银河星系中,D错
考查方向
解题思路
知道有关星系的基本常识
易错点
考查了星系的概念,要知道太阳处于银河系中,是常识
12.如图,S1、S2是振幅均为A的两个水波波源,某时刻它们形成的波峰和波谷分别由实线和虚线表示。则
正确答案
解析
A、由图看出,波源Sl形成的水波波长大于波源S2是形成的水波波长,两列波在同一介质中传播,波速相等,由波速公式v=λf得知,两列波的频率不等,不会形成干涉现象,但能发生叠加现象,故AB错误,
由图可知,此时A是波峰与波谷相遇,则xA=0,而B与C分别是波谷与波谷,及波峰与波峰,则位移是xB=﹣2A,xC=2A,故C正确;
机械波振动质点只能在自己平衡位置振动,不能随波迁移,所以D错。
考查方向
解题思路
相邻两个波峰与波波峰或波谷与波谷之间的距离等于一个波长,根据波长的概念由图尺寸比较波长的大小.波在同一介质中传播时,波速相等,由波速公式确定频率关系.当两列波的频率相同时才能产生稳定的干涉.
易错点
考查了波速是由介质决定的及干涉产生的条件:频率相同.并掌握波的叠加原理.
知识点
13.如图,两端封闭的玻璃直管下方用一小段水银柱封闭了一定质量的理想气体,上方为真空。现在管的下方加热被封闭的气体,下图中不可能发生的变化过程是
正确答案
解析
上方为真空的意思是根据受力分析特点可知,水银的质量不变所以加热过程为等压变化,不可能出现B中压强不断增大的情况,所以答案为B。D中V-T正比变化,前提是压强不变。
考查方向
解题思路
上方为真空的意思是根据受力分析特点可知,加热过程为等压变化
易错点
理想气体的状态方程的的图像的理解
知识点
11.某原子电离后其核外只有一个电子,若该电子在核的静电力作用下绕核做匀速圆周运动,那么电子运动
正确答案
解析
根据原子核对电子的库仑力提供向心力,由牛顿第二定律得
对比以上选项,则答案为C
考查方向
解题思路
根据库仑定律求出原子核与核外电子的库仑力.
根据原子核对电子的库仑力提供向心力,由牛顿第二定律求出角速度,加速度,周期,线速度进行比较.
易错点
根据题意找出原子核与核外电子的库仑力提供向心力,并列出等式求解.
对于等效环形电流,以一个周期为研究过程求解.
知识点
14.两个相距较远的分子仅在彼此间分子力作用下由静止开始运动,直至不再靠近。在此过程中,下述正确的是
正确答案
解析
A、两个相距较远的分子仅在分子力作用下由静止开始运动,直至不再靠近的过程中,当分子间距大于平衡间距时,分子力表现为引力;当分子间距小于平衡间距时,分子力表现为斥力,分子引力先减小后增大,斥力增大,故A错误;
B、两个相距较远的分子仅在分子力作用下由静止开始运动,直至不再靠近的过程中,分子力先是引力后是斥力,故先做正功后做负功,故B正确;
C、只有分子力做功,先做正功后做负功,根据动能定理,动能先增加后减小,故C错误;
D、分子力先做正功后做负功;分子力做功等于分子势能的减小量;故分子势能先减小后增加,故D错误;
考查方向
解题思路
分子力同时存在引力和斥力,分子间引力和斥力随分子间的距离的增大而减小,随分子间的距离的减小而增大,且斥力减小或增大比引力变化要快些;分子力做功等于分子势能的减小量.
易错点
本题考查了分子力、分子势能、分子力做功与分子势能变化关系,可借助于图象记住相关结论.
知识点
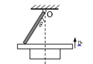
15.如图,长为L的直棒一端可绕固定轴O在竖直平面内转动,另一端搁在升降平台上,平台以速度υ匀速上升,当棒与竖直方向的夹角为θ时,棒的角速度为
正确答案
解析
棒与平台接触点的实际运动即合运动方向是垂直于棒指向左上,如图所示,
合速度v实=ωL,沿竖直向上方向上的速度分量等于v,即ωLsinθ=v,
所以ω=
考查方向
解题思路
应清楚棒与平台接触点的实际运动即合运动方向是垂直于棒指向左上,竖直向上是它的一个分速度,把速度分解,根据三角形知识求解.
易错点
找合速度是本题的关键,应明白实际的速度为合速度.然后分解速度,做平行四边形,根据三角形求解
知识点
16.有三个完全相同的重球,在每个球和水平面间各压了一块相同的木板,并都与一根硬棒相连,棒的另一端分别与一铰链相连,三个铰链的位置如图甲、乙、丙所示。现分别用力F甲、F乙、F丙将木板水平向右匀速抽出,(水平面光滑,重球和木板是粗糙的)。则下列关于F甲、F乙、F丙大小关系判断正确的是[来
正确答案
解析
设球的重力为G,杆对球的拉力方向与竖直方向的夹角为θ,球与木板的动摩擦因数为μ,球处于静止状态,受力平衡,
对球受力分析,受到重力G、杆子的拉力T、木板对球的支持力N以及木板对球水平向右的滑动摩擦力f,
根据平衡条件得:
N=G+Tsinθ,
f=Tcosθ,
而f=μN
解得:f=
木板处于静止状态,再对木板受力分析,根据平衡条件可知,水平方向有:F=f=
根据图象可知,从甲到乙再到丙,θ增大,则f增大,所以F增大,故F甲<F乙<F丙,故D正确.
考查方向
解题思路
球处于静止状态,受力平衡,先对球受力分析,求出球受到的摩擦力与杆对球的拉力方向与竖直方向的夹角为θ的关系,木板处于静止状态,再对木板受力分析,根据平衡条件列式分析即可
易错点
考查了共点力平衡条件的直接应用,要求同学们能正确分析物体的受力情况,注意本题中杆与墙壁用铰链相连,则杆子力的方向沿杆子方向,且为拉力
知识点
19.如图,矩形闭合导线框abcd平放在光滑绝缘水平面上,导线框的右侧有一竖直向下且范围足够大的有左边界PQ的匀强磁场。导线框在水平恒力F作用下从静止开始运动,ab边始终与PQ平行。用t1、t2分别表示线框ab和cd边刚进入磁场的时刻。下列υ-t图像中可能反映导线框运动过程的是
正确答案
解析
线框进入磁场前做匀加速直线运动,加速度为 a=




考查方向
解题思路
分析线框可能的运动情况,根据安培力与速度成正比,分析加速度的变化情况,确定v﹣t图象的斜率变化情况,即可选择图象
易错点
本题的关键能够根据物体的受力判断物体的运动,结合FA=
知识点
20.如图,由同种材料制成的三个斜面a、b、c,底边长分别为L、L、2L,高度分别为2h、h、h。现将一可视为质点的物块分别从三个斜面的顶端由静止释放,在物块沿斜面下滑到底端的过程中,下述可能正确的是
正确答案
解析
A、设任一斜面的倾角为α,斜面的长度为S.根据牛顿第二定律得:mgsinα﹣μmgcosα=ma,得 a=gsinα﹣μgcosα,则可能有aa>ab>ac.故A正确.
B、由S=

C、对物体在任一斜面上滑动的过程,由动能定理得:
mgSsinα﹣μmgcosα•S=Ek,式中Ssinα等于斜面的高度,Scosα等于斜面底边的长度.
则 Eka=mg•2h﹣μmgL=2mgh﹣μmgL,Ekb=mgh﹣μmgL,Ekc=mgh﹣μmg•2L=mgh﹣2μmgL,由数学知识可知,不可能有:Eka=2Ekb=4Ekc.故C错误.
D、根据功能关系知,物块损失的机械能等于克服摩擦力做功,则有△ E=μmgcosα•S,Scosα等于斜面底边的长度.因此有△ Ec=2μmgL,△ Eb=μmgL,△ Ea=μmgL,所以△ Ec=2△ Eb=2△ Ea.故D正确.
考查方向
解题思路
物块的加速度可根据牛顿第二定律列式分析.运动时间由位移时间公式列式.可根据动能定理分析物体到达底端时动能关系.比较克服摩擦力做功的大小,由功能关系分析损失的机械能关系.
易错点
本题求克服摩擦力做功可推得一个重要的结论:物体从斜面下滑到底端的过程中,克服摩擦力做的功与沿水平面滑动与斜面底端相同距离时克服摩擦力做的功相同
知识点
17.图甲、图乙为两次用单色光做双缝干涉实验时,屏幕上显示的图样。图甲条纹间距明显大于图乙,比较两次实验
正确答案
解析
根据干涉条纹的公式
考查方向
解题思路
对干涉现象,衍射现象要有比较熟悉的了解
易错点
光的干涉衍射条件、衍射条纹、干涉条纹的特点
知识点
18.如图,相距l的两小球A、B位于同一高度h(l、h均为定值)。将A向B水平抛出,同时让B自由下落。A、B与地面碰撞前后,水平分速度不变,竖直分速度大小不变、方向相反。不计空气阻力及小球与地面碰撞的时间,则
正确答案
解析
若A、B在第一次落地前不碰,由于反弹后水平分速度不变,竖直分速度大小不变、方向相反,则以后一定能碰.故A对,C错.A、若A球经过水平位移为l时,还未落地,则在B球正下方相碰.可知当A的初速度较大时,A、B在第一次落地前能发生相碰,故B正确.若A球落地时的水平位移为
考查方向
解题思路
因为平抛运动在水平方向上做匀速直线运动,在竖直方向上做自由落体运动,根据该规律抓住地面碰撞前后,水平分速度不变,竖直分速度大小不变、方向相反与判断两球能否相碰.
易错点
关键知道平抛运动在水平方向和竖直方向上的运动规律,根据该规律进行分析.
知识点
21.t=0时刻,x=0的质点开始振动,产生的波沿x轴正方向传播,t1=0.14s时刻波的图像如图所示,此时x=7m的质点A刚开始振动。这列波的传播速度 υ=________m/s;x=4m的质点B在0.14s内的路程s=________m。
正确答案
50 0.15
解析
经过0.14s,A点起振,所以

考查方向
解题思路
根据波动图像质点的振动方向,判断机械波的传播周期从而计算质点的振动路程
易错点
机械波的波动图像与振动图像之间的区别
知识点
23.图中虚线所示为静电场中的等势面1、2、3、4,相邻的等势面之间的电势差相等,其中等势面3的电势为零。一带正电的点电荷在静电力的作用下运动,经过
正确答案
10 16
解析
经过a、b点时的动能分别为24eV和3eV;
图中虚线所示为静电场中的等势面1、2、3、4,相邻的等势面之间的电势差相等,
故电荷经过相邻两个等势面时的动能减小量为△Ek=
只有电场力做功,电势能和动能之和守恒,其电势能变为﹣6eV时,故有:0eV+10eV=﹣6eV+Ek;
解得:Ek=16eV.
考查方向
解题思路
只有电场力做功,电势能和动能之和守恒,根据题意曲线3处的电势为零,列式求解点电荷的电势能与动能的和,然后结合功能关系即可求出动能.
易错点
在只有电场力做功的条件下动能和电势能的总和保持不变;相邻等势面之间的电势差相同
知识点
24.如图所示,容积为100cm3的球形容器与一粗细均匀的竖直长管相连,管上均匀刻有从0到100刻度,两个相邻刻度之间的管道的容积等于0.25cm3。有一滴水银(体积可忽略)将球内气体与外界隔开。当温度为20℃时,该滴水银位于刻度40处。若不计容器及管子的热膨胀,将0到100的刻度替换成相应的温度刻度,则相邻刻度线所表示的温度之差是否相等_____(填“是”“否”或“不确定”),在此温度计刻度内可测量的温度范围是_____。
正确答案
“是” 266.4K~333K
解析
(1)因为是等压变化,温度变化与体积变化比值恒定(或温度数值与0到100的刻度数值成线性关系.(2)由等压变化
解得 T2=266.4K
由等压变化
解得 T3=333K
考查方向
解题思路
(1)由两次使用等压变化,从而求出可以测量的温度范围;
(2)根据温度与刻度成线性关系,来确定是否相等.
易错点
对等压变化理解,同时要掌握等温变化、等容变化的理解,最后要掌握理想气体状态方程.
知识点
25.如图,在水平直道上的托球跑步比赛中,某同学将质量为m的球置于球拍光面中心,从静止开始先做加速度大小为a的匀加速直线运动,速度达到υ0后做匀速直线运动至终点。球相对球拍静止,且受到与速度方向相反的空气阻力kυ。
正确答案

解析
在匀速运动阶段,有mgtanθ=kv0解得:
加速阶段,设球拍对球的支持力为N′,有:N′sinθ﹣kv=ma ;N′cosθ=mg
得tanθ=

考查方向
解题思路
在匀速运动阶段,受力平衡,根据平衡条件列式即可求解;
加速阶段,设球拍对球的支持力为N′,根据牛顿第二定律即可求解.
知识点
22.光滑水平面上有A、B两物块,A物块质量为2kg,以4m/s速度向右运动,B物块质量为1kg,以2m/s速度向左运动。两物块碰撞后粘在一起共同运动。若规定向右为正方向,则碰撞前B物块的动量为________kgm/s,碰撞后两物块共同速度为_________m/s。
正确答案
-2 2
解析
规定向右为正方向,碰撞前B物块的动量PB=mBvB=1×(﹣2)kgm/s=﹣2kgm/s.
根据动量守恒定律得:mAvA+mBvB=(mA+mB)v,
解得:v=
考查方向
解题思路
根据动量的公式求出碰撞前B的动量,对AB组成的系统运用动量守恒定律,求出碰撞后的共同速度.
易错点
考查动量守恒定律的基本运用,知道AB组成的系统碰撞过程中动量守恒,注意动量守恒表达式的矢量性
知识点
如图甲所示是一种研究气球的体积和压强的变化规律的装置。将气球、压强传感器和大型注射器用
33.该装置可用于验证________定律。(填写气体实验定律名称)
34.将注射器内气体部分推入气球,读出此时注射器内剩余气体的体积为
35.继续推动活塞,多次记录注射器内剩余气体的体积及对应的压强,计算出对应的气球体积,得到如图乙所示的“气球体积和压强”关系图。根据该图像估算:若初始时注射器内仅有体积为0.5V0、压强为p0的气体。当气体全部压入气球后,气球内气体的压强将变为 p0。(保留3位小数)
正确答案
玻意耳……2分
解析
给气球打气的时候,气球的温度来不及变化,所以属于等温变化,即波义耳定律;
考查方向
解题思路
首先要知道给气球打气的时候,气球的温度来不及变化,所以属于等温变化;第二、三问结合气体的状态方程列式求解
易错点
对理想气体的状态方程的理解
正确答案

解析
真个整体的波义耳定律为

考查方向
解题思路
首先要知道给气球打气的时候,气球的温度来不及变化,所以属于等温变化;第二、三问结合气体的状态方程列式求解
易错点
对理想气体的状态方程的理解
正确答案
1.027……2分
解析
图像中可以看出,当气体全部进入气球后,压强不会再变,即图像中可以读出压强为1.027P0。
考查方向
解题思路
首先要知道给气球打气的时候,气球的温度来不及变化,所以属于等温变化;第二、三问结合气体的状态方程列式求解
易错点
对理想气体的状态方程的理解
如图所示,粗细均匀,两端开口的U形管竖直放置,管的内径很小,水平部分BC长14cm,一空气柱将管内水银分隔成左右两段,大气压强相当于高为76cmHg的压强。
36.当空气柱温度为T1 =273K,长为l1=8cm时,BC管内左边水银柱长2cm,AB管内水银柱长也是2cm,则右边水银柱总长是多少?
37.当空气柱温度升高到多少时,左边水银恰好全部
38.当空气柱温度为490K时,两竖直管内水银柱上表面高度各为多少?
正确答案
6cm
解析
由于左边AB管内水银柱长是2cm,所以右边CD管内水银柱长也是2cm。
右边水银柱总长度为14-2-8+2=6cm。……2分
考查方向
解题思路
由于平衡,两边水银面等高,即可求得右边水银柱总长;左边的水银恰好全部进入竖直管AB内时,根据左侧水银柱平衡可以求出底部气体的压强,然后根据玻意耳定律列式求解;
易错点
关键根据平衡条件得到底部气体的气体压强,然后根据玻意耳定律和吕萨克定律列式求解.
正确答案
420K
解析
当左边的水银恰好全部进入竖直管AB内时,
设管截面积为S,则
由理想气体状态方程:
得
考查方向
解题思路
由于平衡,两边水银面等高,即可求得右边水银柱总长;左边的水银恰好全部进入竖直管AB内时,根据左侧水银柱平衡可以求出底部气体的压强,然后根据玻意耳定律列式求解;
易错点
关键根据平衡条件得到底部气体的气体压强,然后根据玻意耳定律和吕萨克定律列式求解.
正确答案
左边6cm,右边4cm
解析

由理想气体状态方程:
得
左边竖直管AB内水银柱上表面高度为6cm,
右边竖直管CD内水银柱上表面高度为4cm。……2分
考查方向
解题思路
由于平衡,两边水银面等高,即可求得右边水银柱总长;左边的水银恰好全部进入竖直管AB内时,根据左侧水银柱平衡可以求出底部气体的压强,然后根据玻意耳定律列式求解;
易错点
关键根据平衡条件得到底部气体的气体压强,然后根据玻意耳定律和吕萨克定律列式求解.
26.在“用单摆测定重力加速度”的实验中,下列所给器材中,哪个组合较好?
①长1 m左右的细线 ②长30 cm左右的细线 ③直径2 cm的塑料球 ④直径2 cm的铁球 ⑤秒表 ⑥时钟 ⑦最小刻度线是厘米的直尺 ⑧最
正确答案
B
解析
单摆模型中,小球视为质点,故摆线越长,测量误差越小,摆球密度要大,体积要小,空气阻力的影响才小;秒表可以控制开始计时和结束计时的时刻;刻度尺的最小分度越小,读数越精确;所以选择仪器为B
考查方向
解题思路
根据单摆模型的要求,摆球密度要大,体积要小,细线要适当长,读数要提高精度;
易错点
关键是明确单摆模型成立的前提条件,以及实验原理和误差来源
知识点
如图甲所示为测
27.请将下列实验步骤按先后排序:____________。
①使电火花计时器与圆形卡纸保持良好接触②接通电火花计时器的电源,使它工作起来③启动电动机,使圆形卡纸转动起来④关闭电火花计时器,关闭电动机;研究卡纸上留下的一段痕迹(如图乙所示),写出角速度ω的表达式,代入数据,得出ω的测量值
28.(单选题)要得到ω的测量值,还缺少一种必要的测量工具,它是
29.写出角速度ω的表达式ω=______,并指出表达式中各个物理量的意义:___________。
正确答案
①③②④……2分
解析
该实验先将电火花计时器与圆形卡纸保持良好接触,先使卡片转动,再打点,最后取出卡片进行数据处理.故次序为①③②④.
考查方向
解题思路
该实验应先安装器材,再启动电动机,然后接通电源打点,最后关闭电源,取出卡片,测量进行数据处理.
易错点
本题的关键知道该实验的实验原理ω=
正确答案
解析
要测出角速度,需要测量点跟点间的角度,需要的器材是量角器.故选:D.
考查方向
解题思路
打点计时器可以记录时间,要求角速度,还得知道在一定的时间里转过的角度,这点可用量角器测量.
易错点
本题的关键知道该实验的实验原理ω=
正确答案

解析
根据ω=

考查方向
解题思路
角速度ω=
易错点
本题的关键知道该实验的实验原理ω=
某同学利用多用表测量分压电路电阻的变化范围,按如下步骤测量:
30.选用欧姆档×1
31.将滑片逐渐滑动到最左端而不做其他变动,移动过程中读数变化情况是
32.记录下整个过程中读数的最小值为 24Ω,得到电阻的变化范围。这样测量的最小值的方法是否合理?若合理,写出电阻变化范围;若不合理,说明应如何改正。
正确答案
200……2分
解析
欧姆表表盘示数为20,倍率为10,则最后读数为:20×10=200Ω,
考查方向
解题思路
欧姆表的测量值等于表盘示数乘以倍率;
易错点
考查多用电表的使用及读数方法,多用电表测电阻时,表盘刻度不均匀,从右向左间格越来越密,同时测量读数时指针尽可能在中间附近
正确答案
解析
根据串并联电路的特点可知,将滑片逐渐滑动到最左端而不做其他变动,电路的电阻减小,则移动过程中读数减小,故B正确;故选:B
考查方向
解题思路
根据串并联电路的特点判断将滑片逐渐滑动到最左端的过程中电阻变化情况即可;
易错点
考查多用电表的使用及读数方法,多用电表测电阻时,表盘刻度不均匀,从右向左间格越来越密,同时测量读数时指针尽可能在中间附近
正确答案
不合理,24Ω采用×10时指针太偏右,应换×1倍率重新调零后再测量……3分
解析
不合理,24Ω采用×10时指针太偏右,倍率偏大,应换×1倍率重新调零后再测量.
故答案为:(1)200;(2)B;(3)不合理,24Ω采用×10时指针太偏右,应换×1倍率重新调零后再测量.
考查方向
解题思路
24Ω采用×10时指针太偏右,倍率偏大,应换×1倍率重新调零后再测量.
易错点
考查多用电表的使用及读数方法,多用电表测电阻时,表盘刻度不均匀,从右向左间格越来越密,同时测量读数时指针尽可能在中间附近
如图甲所示,某人站在力传感器上,从直立静止起,做“下蹲-起跳”动作,图中的“●”表示人的重心。图乙是由力传感器画出的F-t图线。图乙中1~4各点对应着图甲中1~4四个状态和时刻。取重力加速度g=10m/s2。请根据这两个图所给出的信息,求:
39.此人的质量。
40.此人1s内的最大加速度,并以向上为正,画出此人在1s内的大致a-t图像。
41.在F-t图像上找出此人在下蹲阶段什么时刻达到最大速度?简单说明必要理由。
正确答案
60kg;见答案;
解析
此人状态1处于静止状态,对应图乙中1点F1=600N可知此人m=60kg……2分
考查方向
解题思路
开始时的人对传感器的压力等于其重力;
失重状态:当物体对接触面的压力小于物体的真实重力时,就说物体处于失重状态,此时有向下的加速度;超重状态:当物体对接触面的压力大于物体的真实重力时,就说物体处于超重状态,此时有向上的加速度.人下蹲过程分别有失重和超重两个过程,先是加速下降失重,到达一个最大速度后再减速下降超重,起立也是如此.
易错点
考察物理知识与生活的联系,注意细致分析物理过程,仔细观察速度的变化情况,与超失重的概念联系起来
正确答案
由图可知:图乙中2点F2=1800N最大,
由

1s内的a-t图像如右图(学生也可能等比例压缩,只要最大加速度是重力加速度两倍就可)……4分
正确答案
下蹲阶段先加速后减速,支持力与重力平衡时速度最大,由a-t图像可读出速度最大时刻约为0.45(0.43-0.47之间都算对)……4分
如图甲所示,宽L=0.5m、倾角θ=30°的金属长导轨上端安装有R=1Ω的电阻。在轨道之间存在垂直于轨道平面的磁场,磁感应强度B按图乙所示规律变化。一根质量m=0.1kg的金属杆垂直轨道放置,距离电阻x=1m。t=0时由静止释放,金属杆最终以υ=0.4m/s速度沿粗糙轨道向下匀速运动。除R外其余电阻均不计,滑动摩擦力等于最大静摩擦力。求:
42.当金属杆匀速运动时电阻R上的电功率为多少?
43.某时刻(t >0.5s)金属杆下滑速度为0.2m/s,此时的加速度多大?
44.金属杆何时开始运动?
正确答案
0.04W;
解析
匀速时磁感应强度应无变化,B=1T


考查方向
解题思路
匀速运动时,磁感应强度不变,利用公式求解功率;在判断物体的运动情况时,结合牛顿第二定律列式求解。
易错点
结合受力分析安段金属棒的运动情况
正确答案
解析
匀速时
而

速度

由

考查方向
解题思路
匀速运动时,磁感应强度不变,利用公式求解功率;在判断物体的运动情况时,结合牛顿第二定律列式求解。
易错点
结合受力分析安段金属棒的运动情况
正确答案
在0.5s后感应电流消失的瞬间才开始下滑
解析
由图b可知:释放瞬间磁场变化率k=1T/s,
感应电流
安培力


在0.5s内,安培力不断增加,范围0.125-0.25N,所以在0.5s前金属杆无法运动。
金属杆在0.5s后感应电流消失的瞬间才开始下滑。……2分
考查方向
解题思路
匀速运动时,磁感应强度不变,利用公式求解功率;在判断物体的运动情况时,结合牛顿第二定律列式求解。
易错点
结合受力分析安段金属棒的运动情况
两根长为L的绝缘轻杆组成直角支架,电量分别为+q、-q的两个带电小球A、B固定在支架上,整个装置处在水平向左的匀强电场中,电场强度为E。在电场力之外的力作用下,整体在光滑水平面内绕竖直轴O以角速度ω顺时针匀速转动,下图为其俯视图。不计两球之间因相互吸引而具有的电势能。试求:
45.在支架转动一周的过程中,外力矩大小的变化范围。
46.若从A球位于C点时开始计时,一段时间内(小于一个周期),电场力之外的力做功W等于B球电势能改变量,求W的最大值。
47.在转动过程中什么位置两球的总电势能变化最快?并求出此变化率。
正确答案
在支架转动一周的过程中,外力矩大小的变化范围是0~qEL.
解析
设OA与电场线夹角θ
电场力矩与外力矩平衡
外力矩
大小范围0~qEL……2分
考查方向
解题思路
设OA与电场线夹角θ,根据装置匀速转动时,电场力矩与外力矩平衡,求出电场力矩与θ的关系式,即得到外力矩与θ的关系式,从而确定其范围.
易错点
分析时要知道支架匀速转动时力矩平衡,合力做功为零,分析出物理过程蕴含的物理规律是解题的关键.
正确答案
W的最大值是﹣2qEL.
解析
支架匀速转动,由动能定理可得 W+W电场力=0
根据题意 W=ΔEpB[来源:学*科*网]
得W电场力= -ΔEpB……2分
电场力做功仅改变了B球电势能,所以A球电势能变化为零,则A球在这段时间初末应在同一个等势面上,根据B球前后位置关系,得W=-2qE
说明:答案中数值1分,符号1分。
考查方向
解题思路
支架匀速转动,动能的变化量为零,由动能定理列式,求电场力做功,得到W的最大值.
易错点
分析时要知道支架匀速转动时力矩平衡,合力做功为零,分析出物理过程蕴含的物理规律是解题的关键.
正确答案
OA杆与电场线平行时,电势能变化最快.变化率为qEωL.
解析
因为电场力做功等于电势能改变量,所以电势能变化最快的位置应是电场力功率最大的位置。……2分
设OA与电场线夹角θ,由公式
电场力功率
显然在一周内θ=0或π时有最值,即OA杆与电场线平行时,电势能变化最快。
变化率qEωL……2分
可能存在的另一类解法:
以OA与电场线平行,A在右端位置为t=0
以任意位置为零电势,均能得到整体电势能Ep=qELsin(ωt)
求导得电势能变化率=qEωLco
显然一周内ωt =0或π时有最值,即OA杆与电场线平行时,电势能变化最快。变化率qEωL。
考查方向
解题思路
电场力做功等于电势能改变量,则电势能变化最快的位置应是电场力功率最大的位置,列出电场力功率表达式,再求解.
易错点
分析时要知道支架匀速转动时力矩平衡,合力做功为零,分析出物理过程蕴含的物理规律是解题的关键.






























































