- 真题试卷
- 模拟试卷
- 预测试卷
2.电流互感器是一种测量电路中电流的变压器,工作原理如图所示.其原线圈匝数较少,串联在电路中,副线圈匝数较多,两端接在电流表上.则电流互感器( )
正确答案
5.中欧班列在欧亚大陆开辟了“生命之路”,为国际抗疫贡献了中国力量.某运送防疫物资的班列由40节质量相等的车厢组成,在车头牵引下,列车沿平直轨道匀加速行驶时,第2节对第3节车厢的牵引力为F.若每节车厢所受摩擦力、空气阻力均相等,则倒数第3节对倒数第2节车厢的牵引力为( )
正确答案
1.质量为


正确答案
4.如图所示,一小物块由静止开始沿斜面向下滑动,最后停在水平地面上.斜面和地面平滑连接,且物块与斜面、物块与地面间的动摩擦因数均为常数.该过程中,物块的动能
正确答案
3.如图所示,两匀强磁场的磁感应强度

正确答案
6.某汽车的电源与启动电机、车灯连接的简化电路如图所示.当汽车启动时,开关S闭合,电机工作,车灯突然变暗,此时( )
正确答案
8.如图所示,小球A、B分别从

正确答案
9.如图所示,绝缘轻杆的两端固定带有等量异号电荷的小球(不计重力).开始时,两小球分别静止在A、B位置.现外加一匀强电场E,在静电力作用下,小球绕轻杆中点O转到水平位置.取O点的电势为0.下列说法正确的有( )
正确答案
7.甲、乙两颗人造卫星质量相等,均绕地球做圆周运动,甲的轨道半径是乙的2倍.下列应用公式进行的推论正确的有( )
正确答案
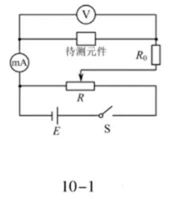
10.(8分)某同学描绘一种电子元件的



(1)请用笔画线代替导线,将题10-2图所示的实物电路连接完整.

(2)调节滑动变阻器,记录电压表和电流表的示数如下表:
请根据表中的数据,在方格纸上作出该元件的
(3)根据作出的
(4)在上述测量中,如果用导线代替电路中的定值电阻
正确答案
(1)(见图1) (2)(见图2) (3)非线性 (4)BC

物理选做题
A.[选修3-3](12分)
(1)玻璃的出现和使用在人类生活里已有四千多年的历史,它是一种非晶体.下列关于玻璃的说法正确的有______.
A.没有固定的熔点 B.天然具有规则的几何形状
C.沿不同方向的导热性能相同 D.分子在空间上周期性排列
(2)一瓶酒精用了一些后,把瓶盖拧紧,不久瓶内液面上方形成了酒精的饱和汽,此时_______(选填“有”或“没有”)酒精分子从液面飞出.当温度升高时,瓶中酒精饱和汽的密度_____(选填“增大”“减小”或“不变”).
(3)一定质量的理想气体从状态A经状态B变化到状态C,其
B.[选修3-4](12分)
(1)电磁波广泛应用在现代医疗中.下列属于电磁波应用的医用器械有_______.
A.杀菌用的紫外灯
B.拍胸片的X光机
C.治疗咽喉炎的超声波雾化器
D.检查血流情况的“彩超”机
(2)我国的光纤通信技术处于世界领先水平.光纤内芯(内层玻璃)的折射率比外套(外层玻璃)的_______(选填“大”或“小”).某种光纤的内芯在空气中全反射的临界角为43°,则该内芯的折射率为_______.(取sin43°=0.68,cos43°=0.73,结果保留2位有效数字)
(3)国际宇航联合会将2020年度“世界航天奖”授予我国“嫦娥四号”任务团队.“嫦娥四号”任务创造了多项世界第一.在探月任务中,“玉兔二号”月球车朝正下方发射一束频率为f的电磁波,该电磁波分别在月壤层的上、下表面被反射回来,反射波回到“玉兔二号”的时间差为

正确答案
(1)AC (2)有 增大 (3)
正确答案
(1)AB (2)大 1.5 (3)
15.(16分)如图所示,鼓形轮的半径为R,可绕固定的光滑水平轴O转动.在轮上沿相互垂直的直径方向固定四根直杆,杆上分别固定有质量为m的小球,球与O的距离均为

(1)重物落地后,小球线速度的大小v;
(2)重物落地后一小球转到水平位置A,此时该球受到杆的作用力的大小F;
(3)重物下落的高度h.
正确答案
(1)线速度
(2)向心力
设F与水平方向的夹角为

解得
(3)落地时,重物的速度
解得
11.(10分)疫情期间“停课不停学”,小明同学在家自主开展实验探究.用手机拍摄物体自由下落的视频,得到分帧图片,利用图片中小球的位置来测量当地的重力加速度,实验装置如题11-1图所示.
(1)家中有乒乓球、小塑料球和小钢球,其中最适合用作实验中下落物体的是________.
(2)下列主要操作步骤的正确顺序是_______.(填写各步骤前的序号)
①把刻度尺竖直固定在墙上 ②捏住小球,从刻度尺旁静止释放
③手机固定在三角架上,调整好手机镜头的位置 ④打开手机摄像功能,开始摄像
(3)停止摄像,从视频中截取三帧图片,图片中的小球和刻度如题11-2图所示.已知所截取的图片相邻两帧之间的时间间隔为


(4)在某次实验中,小明释放小球时手稍有晃动,视频显示小球下落时偏离了竖直方向.从该视频中截取图片,_______(选填“仍能”或“不能”)用(3)问中的方法测出重力加速度.
正确答案
(1)小钢球 (2)①③④② (3)9.6(9.5~9.7都算对) (4)仍能
12. [选修3-5](12分)
(1)“测温枪”(学名“红外线辐射测温仪”)具有响应快、非接触和操作方便等优点.它是根据黑体辐射规律设计出来的,能将接收到的人体热辐射转换成温度显示.若人体温度升高,则人体热辐射强度I及其极大值对应的波长
A. I增大,
B. I增大,
C. I减小,
D. I减小,
(2)大量处于某激发态的氢原子辐射出多条谱线,其中最长和最短波长分别为


(3)一只质量为1.4kg的乌贼吸入0.1kg的水,静止在水中.遇到危险时,它在极短时间内把吸入的水向后全部喷出,以2m/s的速度向前逃窜.求该乌贼喷出的水的速度大小v.
正确答案
(1)B (2)

解得
14.(15分)如图所示,电阻为





(1)感应电动势的大小E;
(2)所受拉力的大小F;
(3)感应电流产生的热量Q.
正确答案
(1)感应电动势
(2)感应电流
解得
(3)运动时间
解得
16.(16分)空间存在两个垂直于


(1)Q到O的距离d;
(2)甲两次经过P点的时间间隔
(3)乙的比荷
正确答案
(1)甲粒子先后在两磁场中做匀速圆周运动,设半径分别为
由半径

且
(2)甲粒子先后在两磁场中做匀速圆周运动,设运动时间分别为
由


解得
(3)乙粒子周期性地先后在两磁场中做匀速圆周运动
若经过两磁场的次数均为
相遇时,有
解得
根据题意,


若先后经过右侧、左侧磁场的次数分别为

综上分析,比荷的最小值为


































































